БОЛЕЕ 10 000 НАИМЕНОВАНИЙ ТОВАРОВ В НАЛИЧИИ И ПОД ЗАКАЗ. ДОСТАВЛЯЕМ ПО ВСЕЙ РОССИИ!
Работаем по всей России
Ваш город: Краснодар
Санкт-Петербург
Краснодар
Екатеринбург
Доставка товара возможна в любой город через транспортную компанию. Для этого при оформлении заказа укажите свой город и адрес на шаге «Способ получения заказа»
  • О компании
  • Оплата
  • Доставка
  • Услуги
  • Юридическим лицам
  • Контакты
8 861 290-01-40
sales@ropesystems.ru
Професcиональное грузоподъемное оборудование R-Systems
Каталог
8 861 290-01-40
sales@ropesystems.ru
Ваш город: Краснодар?
Р-Системс Главная
Вход
0 Избранное 0 Сравнение
0 Корзина
Всего товаров на сумму 0 ₽
Перейти в корзину
Каталог Профиль
Краснодар
Ваш город: Краснодар?
  • Канаты и тросы
  • Канатные комплектующие
  • Стропы
  • Грузоподъемное оборудование
  • Грузовые комплектующие
  • Такелаж
  • Другое
Канаты ГОСТ
  • Канаты ГОСТ 2688-80
  • Канаты ГОСТ 7668 80
  • Канаты ГОСТ 7669-80
  • Канаты ГОСТ 3077-80
  • Канаты DIN 3062
Канаты EN 12385
  • Восьмипрядные
  • Девятипрядные
  • Десятипрядные
  • Многопрядные
Все канаты и тросы стальные
Канаты полистиловые
Канаты полиамидные
Канаты полипропиленовые
Полиэтиленовые канаты (СВМПЭ)
Зажимы для троса и каната
  • DIN 741
  • DIN 1142
Коуши
  • DIN 6899
  • DIN 3090
  • Вантовый DIN 3091
  • ГОСТ 2224-93
Полимерные заливочные компаунды
Муфты для троса
  • Зажимы клиновые для троса
  • Обжимные наконечники для троса
  • Сокеты заливные
Кабельные чулки
Втулки алюминиевые обжимные
Стропы канатные
  • Стропы ВК
  • Одноветвевые 1СК
  • Двухветвевые 2СК
  • Четырехветвевые 4СК
  • Плетеные петлевые СКПП
  • Универсальные УСК1
  • Универсальные УСК2
Стропы текстильные
  • Одноветвевые 1СТ
  • Двухветвевые 2СТ
  • Четырехветвевые 4СТ
  • Петлевые СТП
  • Кольцевые СТК
  • Круглопрядные петлевые СТКП
  • Круглопрядные кольцевые СТКК
Стропы цепные
  • Одноветвевые 1СЦ
  • Двухветвевые 2СЦ
  • Трехветвевые 3СЦ
  • Четырехветвевые 4СЦ
  • С одной замкнутой ветвью 1СЦвз
  • С двумя замкнутыми ветвями 2СЦвз
Динамические стропы
Захваты
  • Эксцентриковые захваты
  • Торцевые захваты
  • Магнитные захваты
  • Клещевые захваты
  • Захваты для контейнеров
  • Захват-струбцина
Тали
  • Тали ручные
  • Тали электрические
Блоки монтажные
  • Блоки опорные
  • Блоки с крюком
  • Блоки с ушком
Домкраты
  • Гидравлические домкраты
  • Пневмогидравлические домкраты
  • Реечные домкраты
Лебедки
  • Ручные лебедки
  • Лебедки электрические
Тележки для талей
  • Ручные
  • Электрические
Монтажно-тяговые механизмы
Звенья для строп
  • Концевые
  • Концевые с подзвенниками
  • Соединительные
Крюки для строп
  • Литейные
  • Укорачивающие
  • Самозакрывающиеся
  • Чалочные
Цепи грузовые
Ремкомплекты для крюков
Скобы такелажные
  • Скобы прямые
  • Скобы омегообразные
Талрепы
  • Талрепы крюк-крюк
  • Крюк-кольцо
  • Талрепы кольцо-кольцо
  • Вилка-вилка
Судовой такелаж
  • Коуши судовые
  • Скобы такелажные судовые
  • Талрепы судовые
  • Обухи такелажные
  • Глаголь-гаки
Петли такелажные
  • Рым-петли
  • Рым-болты
  • Рым-гайки
Ремни стяжные
  • С пружинным фиксатором
  • С храповым натяжным механизмом
  • Для автовоза
Стяжки цепные
  • Талрепы цепные
  • Цепи крепежные
Стяжные механизмы для ремней
Крюки для стяжных ремней
Крепление груза
  • Ремни стяжные
  • Стяжки цепные
  • Стяжные механизмы для ремней
  • Крюки для стяжных ремней
  • Главная
  • Каталог
  • Грузоподъемное оборудование
  • Тали
  • Тали ручные
  • Тали ручные шестеренные
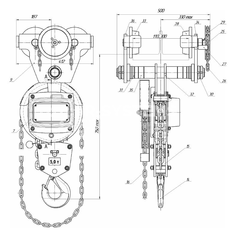
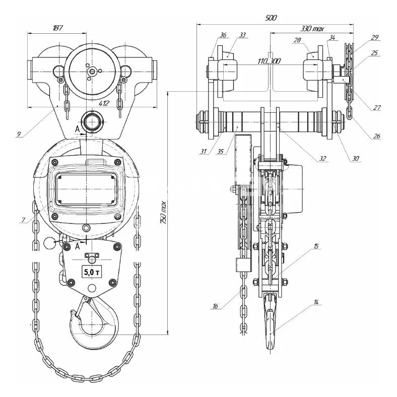
  • Таль ручная шестеренная передвижная СВПК ТРШБМ г/п 5 т, L=12 м

Таль ручная шестеренная передвижная СВПК ТРШБМ г/п 5 т, L=12 м

Артикул: STRSHBM5000X12
0 отзывов
Избранное
Сравнить
Таль ручная шестеренная передвижная СВПК ТРШБМ г/п 5 т, L=12 м - основное фото
Таль ручная шестеренная передвижная СВПК ТРШБМ г/п 5 т, L=12 м - дополнительное фото 1
Таль ручная шестеренная передвижная СВПК ТРШБМ г/п 5 т, L=12 м - дополнительное фото 2
Таль ручная шестеренная передвижная СВПК ТРШБМ г/п 5 т, L=12 м - дополнительное фото 3
Таль ручная шестеренная передвижная СВПК ТРШБМ г/п 5 т, L=12 м - дополнительное фото 4
Таль ручная шестеренная передвижная СВПК ТРШБМ г/п 5 т, L=12 м - дополнительное фото 5
Таль ручная шестеренная передвижная СВПК ТРШБМ г/п 5 т, L=12 м - основное фото
Таль ручная шестеренная передвижная СВПК ТРШБМ г/п 5 т, L=12 м - дополнительное фото 1
Таль ручная шестеренная передвижная СВПК ТРШБМ г/п 5 т, L=12 м - дополнительное фото 2
Таль ручная шестеренная передвижная СВПК ТРШБМ г/п 5 т, L=12 м - дополнительное фото 3
Таль ручная шестеренная передвижная СВПК ТРШБМ г/п 5 т, L=12 м - дополнительное фото 4
Таль ручная шестеренная передвижная СВПК ТРШБМ г/п 5 т, L=12 м - дополнительное фото 5
Длина, м 750
Грузоподъемность, т 5
Рабочая температура до -40℃
Калибр цепи, мм 10
Высота подъема, м 12
Все характеристики
СВПК
В наличии
127 298 руб/шт
В корзину
Купить в 1 клик
Оплата картой
Оплата картой
Оплата по счёту
Оплата по счёту
Самовывоз
Самовывоз: 27.04, ул. Коммунаров, д. 268А, БЦ «Кавказ», бесплатно
Доставка
Доставка: 28.04, 490 руб.
Таль ручная шестеренная передвижная СВПК ТРШБМ г/п 5 т, L=12 м - основное фото
Таль ручная шестеренная передвижная СВПК ТРШБМ г/п 5 т, L=12 м
Артикул: STRSHBM5000X12
0 отзывов
Избранное
Сравнить
127 298 руб/шт
В корзину
  • Описание
  • Характеристики
  • Отзывы
  • Способы получения
  • Вопросы
  • Гарантия

Описание товара

Таль ручная шестеренная передвижная СВПК ТРШБМ г/п 5 т, L=12 м - высокопроизводительное подъемное оборудование с максимальной высотой подъема 12 метров. Грузоподъемность 5 тонн. Механизм передвижения с тяговыми цепями обеспечивает удобное позиционирование груза. Монтируется на двутавровых балках.

Показать ещё

Характеристики

Длина, м 750
Грузоподъемность, т 5
Рабочая температура до -40℃
Калибр цепи, мм 10
Высота подъема, м 12
Длина цепи, м 12
Количество цепей, шт 2
Шаг цепи, мм 30
Тип привода Ручная
Тип тали Шестеренная
Тип передвижения Передвижная
Тяговое усилие, кг 34
Передвижная Да
Исполнение Общепромышленное
Вес, кг 85
Модель ТРШБМ
Материал Сталь
Стандарт ТУ 24.09.785-00
Покрытие Оцинкованное
Бренд СВПК
Родина бренда Россия
Страна производства Россия
Применение Производство ремонтных и погрузочно-разгрузочных работ, Строительно-монтажные работы
Назначение Общего назначения

Подборки товаров

Тали СВПК Тали ручные цепные Тали ручные 5т Показать ещё...

Отзывы о товаре (0)

У этого товара ещё нет отзывов. Будьте первым, кто поделится своим мнением!
0/5
5 звезд 0
4 звезды 0
3 звезды 0
2 звезды 0
1 звездa 0
Отзыв
Оставьте комментарии о качестве товара
Таль ручная шестеренная передвижная СВПК ТРШБМ г/п 5 т, L=12 м - основное фото
Таль ручная шестеренная передвижная СВПК ТРШБМ г/п 5 т, L=12 м
Оцените товар
Поставьте оценку
Опишите впечатления о товаре
Обязательное поле
Ваш отзыв будет отображать ваш аккаунт:
Ваш отзыв будет опубликован анонимно
Спасибо!
Ваш отзыв принят и будет размещен после модерации

Способы получения

  • Самовывоз
  • Доставка курьером
  • Доставка по РФ
Самовывоз из пункта выдачи заказов «Р-Системс» в г.Краснодар
Телефон: 8 861 290-01-40
Доставка из пункта выдачи заказов «Р-Системс» по
Доставка из пункта выдачи заказов «Р-Системс» по России
СДЭК
Деловые линии
ПЭК
GTD
Байкал-Сервис

Часто задаваемые вопросы

Гарантия

Гарантийный срок – это период, в течение которого изготовитель гарантирует качество товара и обязуется принять данный товар у потребителя для проведения проверки качества (экспертизы) и выполнения предусмотренных законом требований.

Гарантийный срок устанавливается изготовителем по своему усмотрению. Вместе с этим, если гарантийный срок не установлен, продавец вправе самостоятельно его установить.

Купить в 1 клик
Для заказа нажмите кнопку «Отправить»
Обязательное поле
Обязательное поле
Нажимая на кнопку «Отправить», вы соглашаетесь с условиями Пользовательского соглашения
Товар в корзине
Таль ручная шестеренная передвижная СВПК ТРШБМ г/п 5 т, L=12 м
Таль ручная шестеренная передвижная СВПК ТРШБМ г/п 5 т, L=12 м
Перейти в корзину

Продолжить покупку

Похожие товары

0
Оригинал
Таль ручная цепная Yale Lift 360 YL 20000 г/п 20 т, L=3 м — фото превью
Таль ручная цепная Yale Lift 360 YL 20000 г/п 20 т, L=3 м
742 941 руб/шт

Купить

0
Таль ручная шестеренная передвижная СВПК ТРШБМ г/п 5 т, L=6 м — фото превью
Таль ручная шестеренная передвижная СВПК ТРШБМ г/п 5 т, L=6 м
114 746 руб/шт

Купить

0
Таль ручная шестеренная передвижная СВПК ТРШБМ г/п 3,2 т, L=12 м — фото превью
Таль ручная шестеренная передвижная СВПК ТРШБМ г/п 3,2 т, L=12 м
94 278 руб/шт

Купить

0
Таль ручная шестеренная стационарная СВПК ТРШСК г/п 0,5 т, L=12 м — фото превью
Таль ручная шестеренная стационарная СВПК ТРШСК г/п 0,5 т, L=12 м
29 753 руб/шт

Купить

0
Оригинал
Таль ручная цепная YaleMINI 360 500 г/п 0,5 т, L=10 м — фото превью
Таль ручная цепная YaleMINI 360 500 г/п 0,5 т, L=10 м
71 689 руб/шт

Купить

0
Таль ручная шестеренная стационарная СВПК ТРШСК г/п 2 т, L=12 м — фото превью
Таль ручная шестеренная стационарная СВПК ТРШСК г/п 2 т, L=12 м
42 796 руб/шт

Купить

0
Таль ручная шестеренная стационарная СВПК ТРШСК г/п 2 т, L=9 м — фото превью
Таль ручная шестеренная стационарная СВПК ТРШСК г/п 2 т, L=9 м
36 180 руб/шт

Купить

0
Таль ручная шестеренная стационарная СВПК ТРШСК г/п 3,2 т, L=9 м — фото превью
Таль ручная шестеренная стационарная СВПК ТРШСК г/п 3,2 т, L=9 м
51 227 руб/шт

Купить

0
Таль ручная шестеренная стационарная СВПК ТРШСК г/п 3,2 т, L=3 м — фото превью
Таль ручная шестеренная стационарная СВПК ТРШСК г/п 3,2 т, L=3 м
30 794 руб/шт

Купить

0
Оригинал
Таль ручная цепная Yale Lift 360 YL 10000 г/п 10 т, L=1,5 м — фото превью
Таль ручная цепная Yale Lift 360 YL 10000 г/п 10 т, L=1,5 м
244 789 руб/шт

Купить

0
Таль ручная цепная TOR ТРШ (С) г/п 1 т, L=3 м — фото превью
Таль ручная цепная TOR ТРШ (С) г/п 1 т, L=3 м
4 473 руб/шт

Купить

0
Оригинал
Таль ручная цепная Yale Lift 360 YL 5000 г/п 5 т, L=1,5 м — фото превью
Таль ручная цепная Yale Lift 360 YL 5000 г/п 5 т, L=1,5 м
135 265 руб/шт

Купить

0
Таль ручная цепная Haklift KTS2000 мини г/п 2 т, L=3 м — фото превью
Таль ручная цепная Haklift KTS2000 мини г/п 2 т, L=3 м
0
Таль ручная цепная TOR ТРШ (С) г/п 1 т, L=6 м — фото превью
Таль ручная цепная TOR ТРШ (С) г/п 1 т, L=6 м
5 622 руб/шт

Купить

0
Таль ручная шестеренная стационарная СВПК ТРШСМ г/п 5 т, L=3 м — фото превью
Таль ручная шестеренная стационарная СВПК ТРШСМ г/п 5 т, L=3 м
74 409 руб/шт

Купить

0
Таль ручная цепная TOR ТРШ (С) г/п 5 т, L=3 м — фото превью
Таль ручная цепная TOR ТРШ (С) г/п 5 т, L=3 м
12 996 руб/шт

Купить

0
Таль ручная шестеренная стационарная СВПК ТРШСп ЕхТЗ г/п 10 т, L=3 м — фото превью
Таль ручная шестеренная стационарная СВПК ТРШСп ЕхТЗ г/п 10 т, L=3 м
0
Таль ручная цепная Haklift KTHA5006 г/п 0,5, L=6 м — фото превью
Таль ручная цепная Haklift KTHA5006 г/п 0,5, L=6 м
0
Таль ручная шестеренная стационарная СВПК ТРШСп ЕхТЗ г/п 5 т, L=6 м — фото превью
Таль ручная шестеренная стационарная СВПК ТРШСп ЕхТЗ г/п 5 т, L=6 м
0
Таль ручная шестеренная стационарная СВПК ТРШСп ЕхТЗ г/п 5 т, L=12 м — фото превью
Таль ручная шестеренная стационарная СВПК ТРШСп ЕхТЗ г/п 5 т, L=12 м

Вас может заинтересовать

0
Стальной канат PYTHON Ultra S (10xK19) 12 мм, zS Galv, 1960 N/mm2 — фото превью
Стальной канат PYTHON Ultra S (10xK19) 12 мм, zS Galv, 1960 N/mm2
0
Строп канатный одноветвевой 1СК 4 т, 3,5 м неоцинкованный — фото превью
Строп канатный одноветвевой 1СК 4 т, 3,5 м неоцинкованный
6 841 руб/шт

Купить

0
Строп цепной одноветвевой 1СЦ 1,5 т, 10 м, 10 класс, GrabiQ TG1-EGKN — фото превью
Строп цепной одноветвевой 1СЦ 1,5 т, 10 м, 10 класс, GrabiQ TG1-EGKN
0
Строп цепной трехветвевой 3СЦ 14 т, 8,5 м, 10 класс, GrabiQ TG3-EGKN — фото превью
Строп цепной трехветвевой 3СЦ 14 т, 8,5 м, 10 класс, GrabiQ TG3-EGKN
0
Строп цепной трехветвевой 3СЦ 3,1 т, 0,5 м, 10 класс, GrabiQ TG3-GBK — фото превью
Строп цепной трехветвевой 3СЦ 3,1 т, 0,5 м, 10 класс, GrabiQ TG3-GBK

Наши преимущества

Более 30 000 товаров для подъёма груза
Консультации опытных экспертов
Дистрибьютор более 10 брендов
Доставка в срок по всей России

Вы смотрели

0
Таль ручная шестеренная передвижная СВПК ТРШАМ г/п 0,5 т, L=12 м — фото превью
Таль ручная шестеренная передвижная СВПК ТРШАМ г/п 0,5 т, L=12 м
49 402 руб/шт
0
Стальной канат PYTHON Power 9S (9xK19) 13 мм, sZ Galv, 1960 N/mm2 — фото превью
Стальной канат PYTHON Power 9S (9xK19) 13 мм, sZ Galv, 1960 N/mm2
0
Стальной канат PYTHON Power 9R (9x19) 12 мм, zS Galv, 1960 N/mm2 — фото превью
Стальной канат PYTHON Power 9R (9x19) 12 мм, zS Galv, 1960 N/mm2
Интернет-магазин Р-Системс
Ropesystems.ru - интернет магазин грузоподъемных изделий и оборудования © 2018 - 2026 Все права защищены
  • ООО «Р-Системс»
  • ОГРН 1115029005123
  • ИНН 7811246865
Р-Системс
  • О компании
  • Сертификаты
  • Бренды
  • Покупателям
  • Контакты
Покупателям
  • Каталог
  • Услуги
  • Как заказать
  • Как оплатить
  • Как получить
  • Частые вопросы
  • Партнерство
Личный кабинет
  • Вход
  • Избранное
  • Сравнение
Краснодар
350020, Краснодар, ул. Коммунаров, д. 268А, БЦ «Кавказ»
8 861 290-01-40
Вконтакте
Telegram
YouTube
visa
mastercard
maestro
mir
Политика конфиденциальности Пользовательское соглашение
Информация на сайте www. krd.ropesystems.ru не является публичной офертой, определяемой положениями статьи 437[2] Гражданского кодекса Российской Федерации. Указанные цены действуют только при оформлении заказа через интернет-магазин www. krd.ropesystems.ru. Цены при оформлении заказа иным способом могут отличаться от указанных на сайте.
Иконка cookies
Сайт использует файлы cookies и передает данные службам веб-аналитики
Подробнее
Краснодар
  • Вход
  • Регистрация
  • Каталог
  • Корзина
  • Избранное
  • Контакты
  • Юридическим лицам
  • Как заказать
  • Как оплатить
  • Как получить
8 861 290-01-40
sales@ropesystems.ru
WhatsApp
Telegram